Apple, hassas bir fare olarak bir MacBook Pro klavyesinden çıkarılabilir bir anahtar kullanmanın bir yolunu araştırıyor. Çıkarılabilir bir anahtarın fare olarak kullanılması fikri, izleme noktalarının yerine geçmez. Bunun yerine, bir bilgisayarla ayrı bir aksesuar taşımaya alternatif olarak sunulmaktadır.
Bugün ABD Patent ve Ticari Marka Ofisi Patent Verildi11,275,451, Apple'a “dağıtılabilir bir anahtar fare” kapsayan. Patent başvurusu, bir MacBook Pro'daki gibi normal bir klavyenin çıkarılabilir ve fare görevi görebilen özel bir anahtarla gelebileceğini önermektedir.
Patent uygulaması, “Çıkarılabilir anahtarın bir konum sensörü olabilir” diyor, “[böylece] bilgisayar işaretleme cihazı olarak çalıştırılabilir… Çıkarılabilir anahtar yapısı bir bilgisayar giriş sistemi için rahat, taşınabilir ve hassas işaretçi girişine izin verebilir.”

“Sonraki yıllarda, bilgisayar faresi, sağ ve sol tıklama düğmesi, bir kaydırma tekerleği, bir optik sensör, bir trackball sensörü, bir lazer sensörü ve ana bilgisayar için kablosuz iletişim gibi bir dizi yenilik geçirdi” diye devam ediyor. Apple, “Bazı durumlarda, dizüstü bilgisayar ve tablet bilgisayarlar gibi taşınabilir bilgi işlem cihazları periferik bir fare giriş cihazı kullanmaktan yararlanıyor” diyor. “Bununla birlikte, kullanıcı daha sonra ayrı fareyi bilgisayarla taşımakla yüklenir ve bilgisayar zaten yerleşik işaret cihazlarına sahip olduğunda ayrı cihaz gereksiz olabilir.”
Bu çıkarılabilir anahtarın amacı izleme çantasını değiştirmek değildir. Bunun yerine, geleneksel olarak izin verdiğinden daha fazla kontrole ihtiyaç duyabilecek kullanıcıların elden çıkarılmasında bir seçenek olacaktır.
Önerilen Okuma:Future Apple Vision Pro Çıkarılabilir Aksesuarlarla Gelebilir Patent
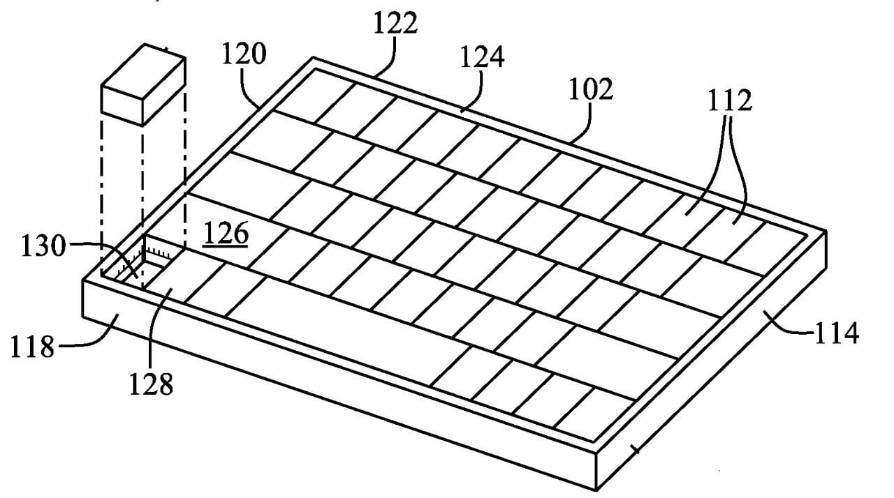
Patent çizimleri, fare olarak kullanılmak üzere bir anahtarın kaldırılabileceği iki yol göstermektedir. Biri tek bir anahtar ayrılması, diğeri fareyi oluşturan anahtarların bir bölümünü gösterir. “Bir fare tipik olarak ergonomik bir şekil içeriyor,” diyor uygulamada cihazların yıllar içinde nasıl değiştiğini vurguluyor. “Bu, büyüklüğünü nispeten sabit tutan bir faktör.”
Diğer patentlerde olduğu gibi, Apple dosyalarında olduğu gibi, şirketin haftalık olarak birçok uygulama dosyasını dosyaladığını belirtmek önemlidir, bu nedenle bu teknolojinin gelecekteki bir Apple cihazında uygulanıp uygulanmayacağından emin değiliz.
Devamını oku:
- Gelecekte Apple Mac, Magic Klavyenin İçine Gelebilir - Patent
- Apple Glass, farklı profillere erişmek ve bir gizlilik özelliği sunmak için kullanılabilir - patent
- Apple Glass, kullanıcıların öğrencilerindeki görüntüleri görüntülemek için retina projektörüne sahip olabilir - Patent
- AirPods, Apple Fitness+ Egzersizler Sırasında Kullanıcıların Hareketi ve Konumunu Algılayabilir - Patent
- Apple, MacBook Metal Kılıfını Cam veya Seramik - Patent ile Yapabilir
- Apple Patent, gelecekteki iPhone, iPad ve MacBook için tamamen cam bir tasarım ortaya koyuyor
